
Перемычки из автоклавного газобетона PORITEP являются легким и теплым заменителем железобетонных перемычек и негорючими в сравнении с полистиролбетонными.
Не подвержены образованию грибка и плесени, долговечен, легок при монтаже и в обработке, не требует дополнительного утепления!
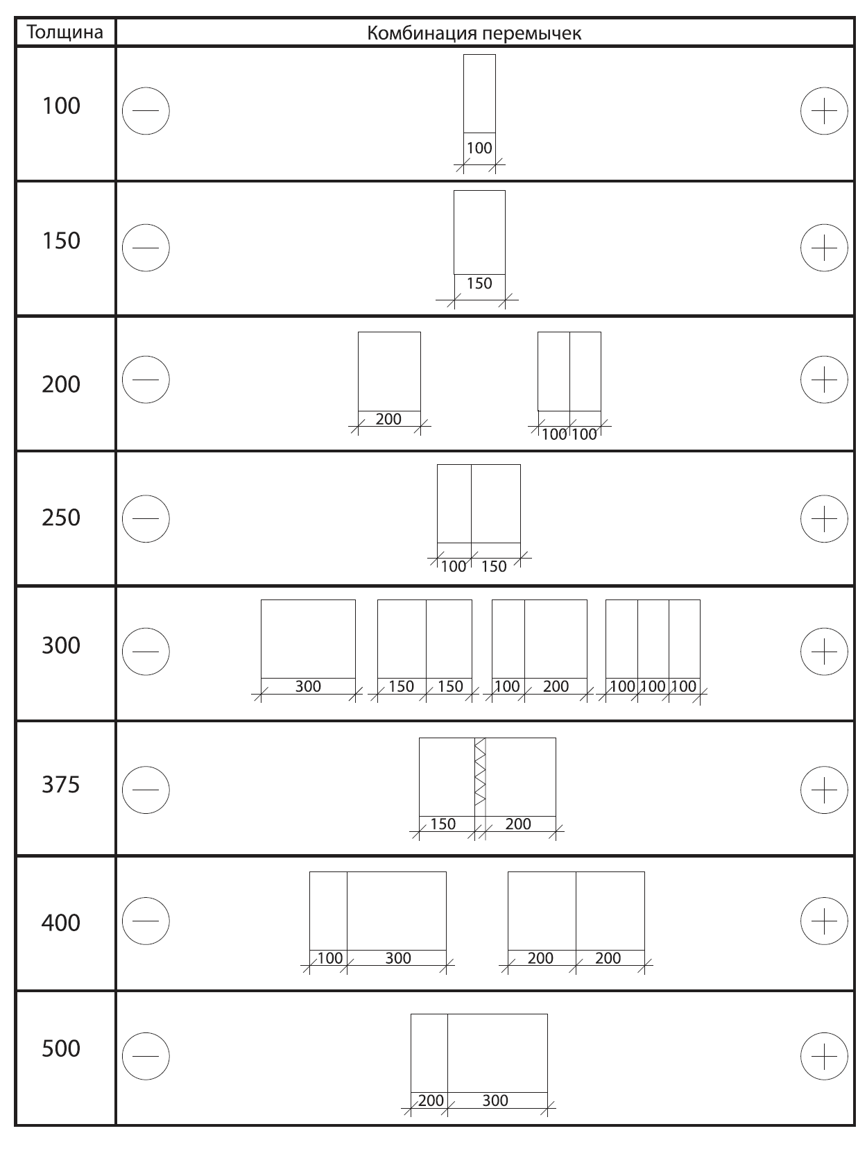
Перемычки PORITEP применяются в самонесущих и несущих стенах до 5 этажей и в ненесущих без ограничения этажности.
| Характеристики | |
| Кол-во м3 на поддоне | 1,5 |
| Марка по плотности, кг/м³ | D600 |
| Класс по прочности при сжатии | В3,5 |
| Марка по морозостойкости | F100 |
| Нагрузка расчетная, кг/м | 350 |
| Минимальная глубина опирания, мм | 150 |
| Перекрываемый проем, мм | ≤2200 |
| Монтажный вес, кг | 77 |
| Кол. блоков в м³, шт. | 10,6 |
| Диаметр стержня мм | 8 |
| Тип армирующего каркаса | Плоский |
Примечание: